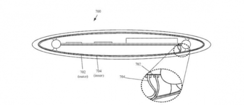
苹果的专利申请对未来 iPhone 的描述是否比苹果目前想要发布的还要多?几个月前,被誉为最准苹果分析师的郭明錤宣布,2017 年,当史上最具影响力的科技产品迎来十周年之际,苹果将彻底改革设计,iPhone 8 应该拥有曲面OLED屏幕和全玻璃机身。他的预测显然正在实现,因为苹果已经申请了一项专利,字里行间都是全玻璃外壳。
他会有 iPhone 8 完全地 玻璃盒子?虽然最近的开发者大会之后尘埃落定 2016 年全球开发者大会,苹果在会上展示了一系列创新成果,包括移动操作系统的开发版本 iOS 10 以及移动消息系统的改进 短信,还没定下来,就爆出他将有新iPhone的消息 全玻璃 套管。至少他是这样读的 专利申请.
阅读更多: 这是 iPhone 7 吗?
2010 和 2011 款车型中已配备玻璃外壳 iPhone 4 和 4s,随着 iPhone 5 的推出,苹果重新开始使用金属。五年后,玻璃应该再次成为主要词,尤其是 从人群中脱颖而出。好吧,我们还要更早地“受苦” iPhone 7.
更多信息






