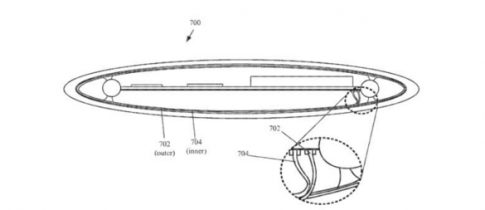
Does Apple's patent application say more about the future iPhone than Apple wants to release so far? A few months ago, Ming-Chi Kuo, also known as the most accurate Apple analyst, announced that in 2017, when the most influential technology device in history will have its tenth anniversary, Apple will completely overhaul the design, and that the iPhone 8 should have a curved OLED screen and all glass body. His predictions are apparently coming true, as Apple has filed a patent that reads between the lines as an all-glass case.
He will have iPhone 8 completely glass case? Although the dust settled after the recent developer conference WWDC 2016, at which Apple presented a bunch of innovations, including a development version of the mobile operating system iOS 10 and improvements to the mobile messaging system iMessage, hasn't laid down yet, the news broke that he will have a new iPhone completely glass casing. At least that's how his reads patent application.
READ MORE: Is this an iPhone 7?
Glass cases were already present in 2010 and 2011 models iPhone 4 and 4s, and with the iPhone 5, Apple returned to using metal. After five years, glass should have the main word again, above all to stand out from the crowd. Well, we will have to "suffer" even earlier iPhone 7.
Source:
twitter.com/iUnplug






