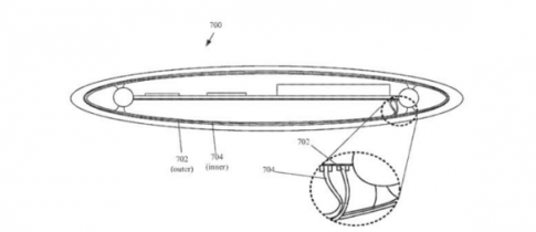
La demande de brevet d'Apple en dit-elle plus sur le futur iPhone que ce qu'Apple souhaite publier jusqu'à présent ? Il y a quelques mois, Ming-Chi Kuo, également connu comme l'analyste Apple le plus précis, a annoncé qu'en 2017, lorsque l'appareil technologique le plus influent de l'histoire fêtera son dixième anniversaire, Apple va complètement repenser le design et que l'iPhone 8 devrait ont un écran OLED incurvé et un corps entièrement en verre. Ses prédictions se réalisent apparemment, car Apple a déposé un brevet qui se lit entre les lignes comme un boîtier entièrement en verre.
Bo imel iPhone 8 complètement stekleno ohišje? Čeprav se prah po nedavni razvijalski konferenci WWDC 2016, na kateri je Apple predstavil kopico novosti, med drugim razvojno različico mobilnega operacijskega sistema iOS 10 in izboljšave za mobilni sporočilni sistem iMessage, še ni polegel, je odjeknila novica, da bo imel novi iPhone povsem stekleno ohišje. Vsaj tako se bere njegova vloga za patent.
EN SAVOIR PLUS: Est-ce un iPhone 7 ?
Steklena ohišja so bila sicer prisotna že v letih 2010 in 2011 pri modelih iPhone 4 et 4s, pri iPhone 5 pa se je Apple vrnili k uporabi kovine. Po petih letih naj bi imelo steklo spet glavno besedo, predvsem da bi bolj izstopalo iz množice. No, še prej bomo morali ”pretrpeti” iPhone 7.
Source:
twitter.com/iUnplug






