من العمود "هذا ليس صحيحا، لكنه كذلك". تحاول شركة Apple، المعروفة بمنتجاتها عالية التقنية مثل iPhone وMacBook وiPad وما إلى ذلك، تسجيل براءة اختراع لحقيبة ورقية. في مارس من هذا العام، قدمت شركة أمريكية تقدم براءات اختراع بانتظام، مثل الفواكه والخضروات لجداتنا، براءة اختراع لحقيبة تسوق عادية بمقابض. ما هي خدعة؟ هل ستحتوي الحقيبة على تقنية لاسلكية مدمجة؟ هل ستقوم بتحليل المحتوى؟ لا شيء من هذا.
تفاحة poskuša patentirati papirnato vrečko! To ni šala, čeprav si je كونان أوبراين dodobra privoščil znamko, ki je revolucionirala nosljivo tehnologijo (glej spodaj). Zadnja v tej fazi je očitno papirnata vrečka.
اقرأ أكثر: اختبار الانحناء: هل ينحني iPhone 7 مثل iPhone 6 Plus؟
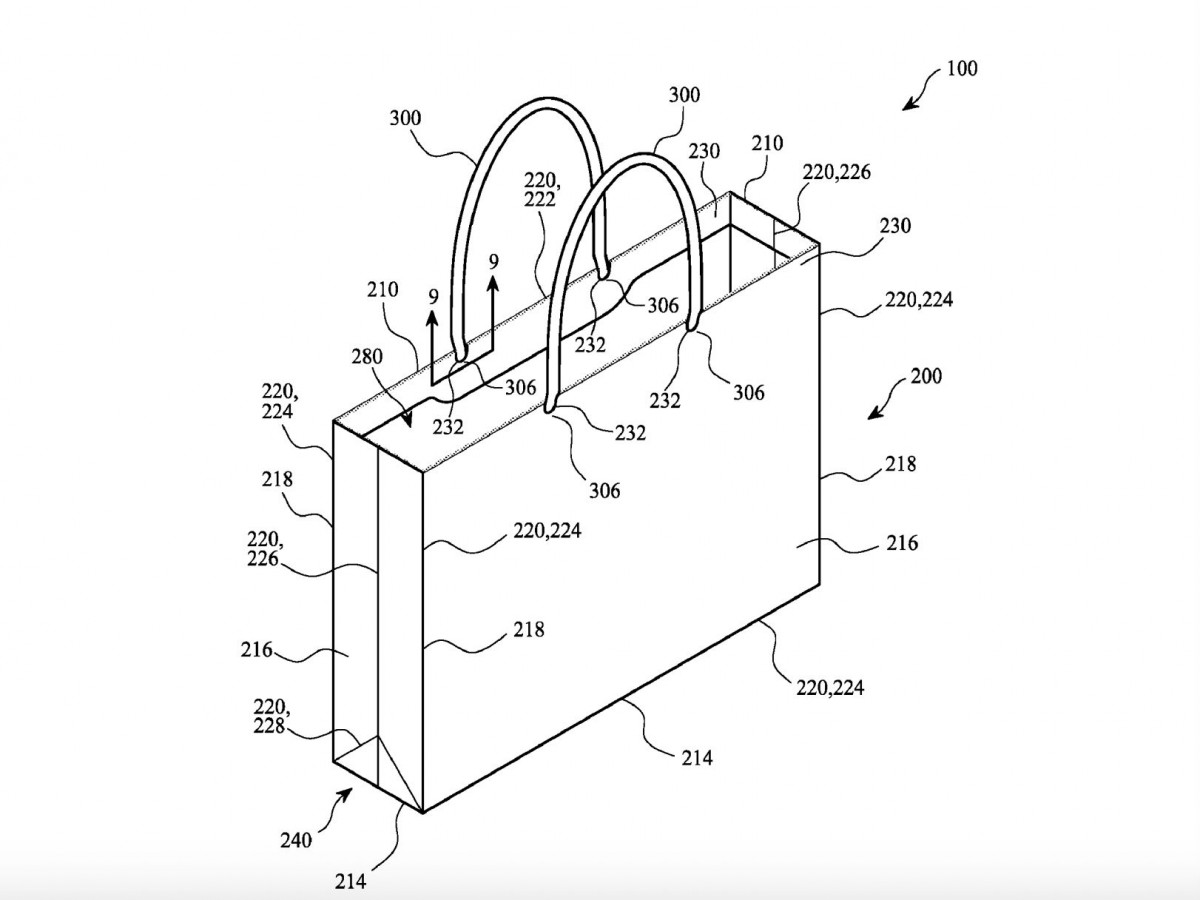
ابل على ameriški patentni urad vložil zahtevo za patentiranje običajne papirnate vrečke z ročaji, ki je iz 60 odstotkov recikliranega papirja. Izumlja toplo vodo? Ne, njena posebnost je, da jo je mogoče uporabljati dlje časa in tudi za prenašanje težjih predmetov (ročaji bodo iz celuloznih vlaken za maksimalno udobje). Medtem ko večina vrečk iz recikliranega papirja za beljenje uporablja kemikalije, ki oslabijo strukturo vrečke, ima Apple v žepu rešitev, ki to težavo odpravi. Vrečke bodo bele, okolju prijazne in trpežne kot še nobena doslej. Bojda naj bi Apple v svojih trgovinah tovrstne vrečke uporabljal že dlje časa, patent pa je vložil zgolj zato, da bo imel ekskluzivno pravico izdelave.






