Från kolumnen "det är inte sant, men det är det". Apple, känt för högteknologiska produkter som iPhone, MacBook, iPad, etc., försöker patentera en papperspåse. I mars i år ansökte ett amerikanskt företag som lämnar patent regelbundet, som vår mormors frukt och grönsaker, patent på en vanlig shoppingpåse med handtag. Vad är tricket? Kommer väskan att ha inbyggd trådlös teknik? Kommer hon att analysera innehållet? Inget av det.
Äpple försöker patentera papperspåse! Det här är inget skämt, även om du är det. Conan O'Brien behandlade sig väl till ett varumärke som revolutionerade bärbar teknologi (se nedan). Den sista i denna fas är uppenbarligen en papperspåse.
LÄS MER: Böjtest: Böjer iPhone 7 som iPhone 6 Plus?
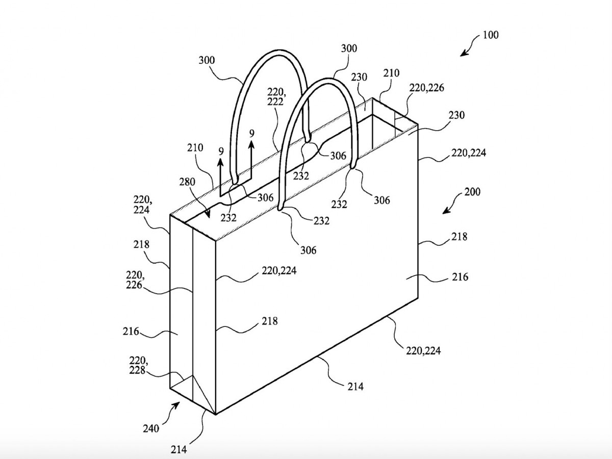
Apple är på US Patent Office lämnade in en patentansökan för en konventionell papperspåse med handtag, som tillverkad av 60 procent återvunnet papper. Uppfinna varmvatten? Nej, dess speciella egenskap är att den kan användas under lång tid och även för bära tyngre föremål (handtagen kommer tillverkad av cellulosafibrer för maximal komfort). Medan de flesta återvunna papperspåsar är det blekning använder kemikalier som försvagar väskans struktur, Apple har en lösning i fickan som åtgärdar detta problem. Påsarna blir det vit, miljövänlig och hållbar som ingen tidigare. Apple påstås ha använt dessa typer av väskor i sina butiker under lång tid och lämnat in ett patent enbart för att ha exklusiv rätt att tillverka.






