Fra kolonnen "det er ikke sant, men det er det". Apple, kjent for høyteknologiske produkter som iPhone, MacBook, iPad, etc., prøver å ta patent på en papirpose. I mars i år søkte et amerikansk selskap som patenterer regelmessig, som vår bestemors frukt og grønnsaker, patent på en vanlig handlepose med håndtak. Hva er trikset? Vil vesken ha innebygd trådløs teknologi? Vil hun analysere innholdet? Ingen av det.
eple poskuša patentirati papirnato vrečko! To ni šala, čeprav si je Conan O’Brien dodobra privoščil znamko, ki je revolucionirala nosljivo tehnologijo (glej spodaj). Zadnja v tej fazi je očitno papirnata vrečka.
LES MER: Bøytest: Bøyer iPhone 7 seg som iPhone 6 Plus?
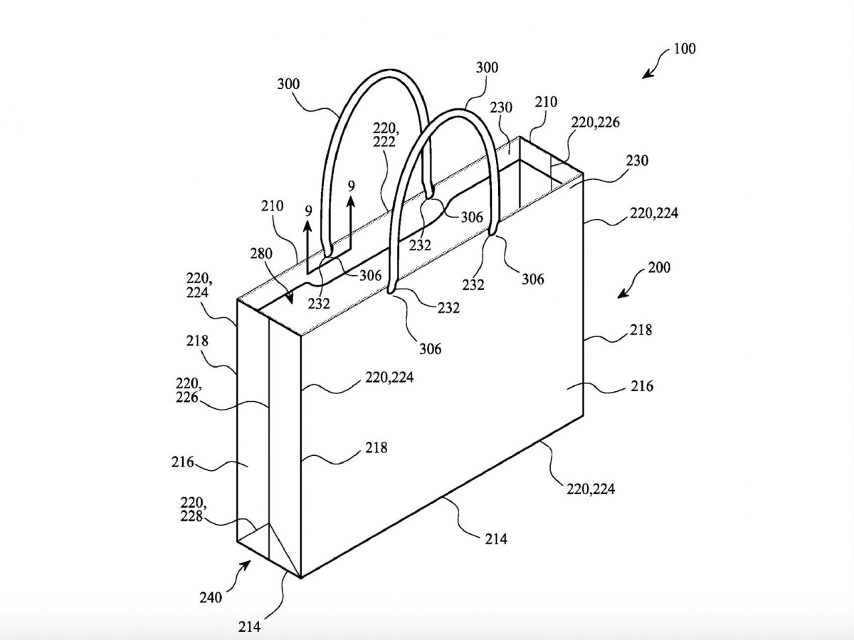
Apple er på ameriški patentni urad vložil zahtevo za patentiranje običajne papirnate vrečke z ročaji, ki je iz 60 odstotkov recikliranega papirja. Izumlja toplo vodo? Ne, njena posebnost je, da jo je mogoče uporabljati dlje časa in tudi za prenašanje težjih predmetov (ročaji bodo iz celuloznih vlaken za maksimalno udobje). Medtem ko večina vrečk iz recikliranega papirja za beljenje uporablja kemikalije, ki oslabijo strukturo vrečke, ima Apple v žepu rešitev, ki to težavo odpravi. Vrečke bodo bele, okolju prijazne in trpežne kot še nobena doslej. Bojda naj bi Apple v svojih trgovinah tovrstne vrečke uporabljal že dlje časa, patent pa je vložil zgolj zato, da bo imel ekskluzivno pravico izdelave.






