Da coluna 'não é verdade, mas é'. A Apple, conhecida por produtos de alta tecnologia como iPhone, MacBook, iPad, etc., está tentando patentear uma sacola de papel. Em março deste ano, uma empresa americana que registra patentes regularmente, como as frutas e vegetais de nossas avós, registrou uma patente para uma sacola de compras comum com alças. Qual é o truque? A bolsa terá tecnologia sem fio integrada? Ela analisará o conteúdo? Nada disso.
Maçã tentando patentear um saco de papel! Não é uma piada, embora seja Conan O’Brien entregou-se completamente à marca que a revolucionou tecnologia utilizável (Veja abaixo). O último nesta fase é obviamente o saco de papel.
CONSULTE MAIS INFORMAÇÃO: Teste de dobra: o iPhone 7 dobra como o iPhone 6 Plus?
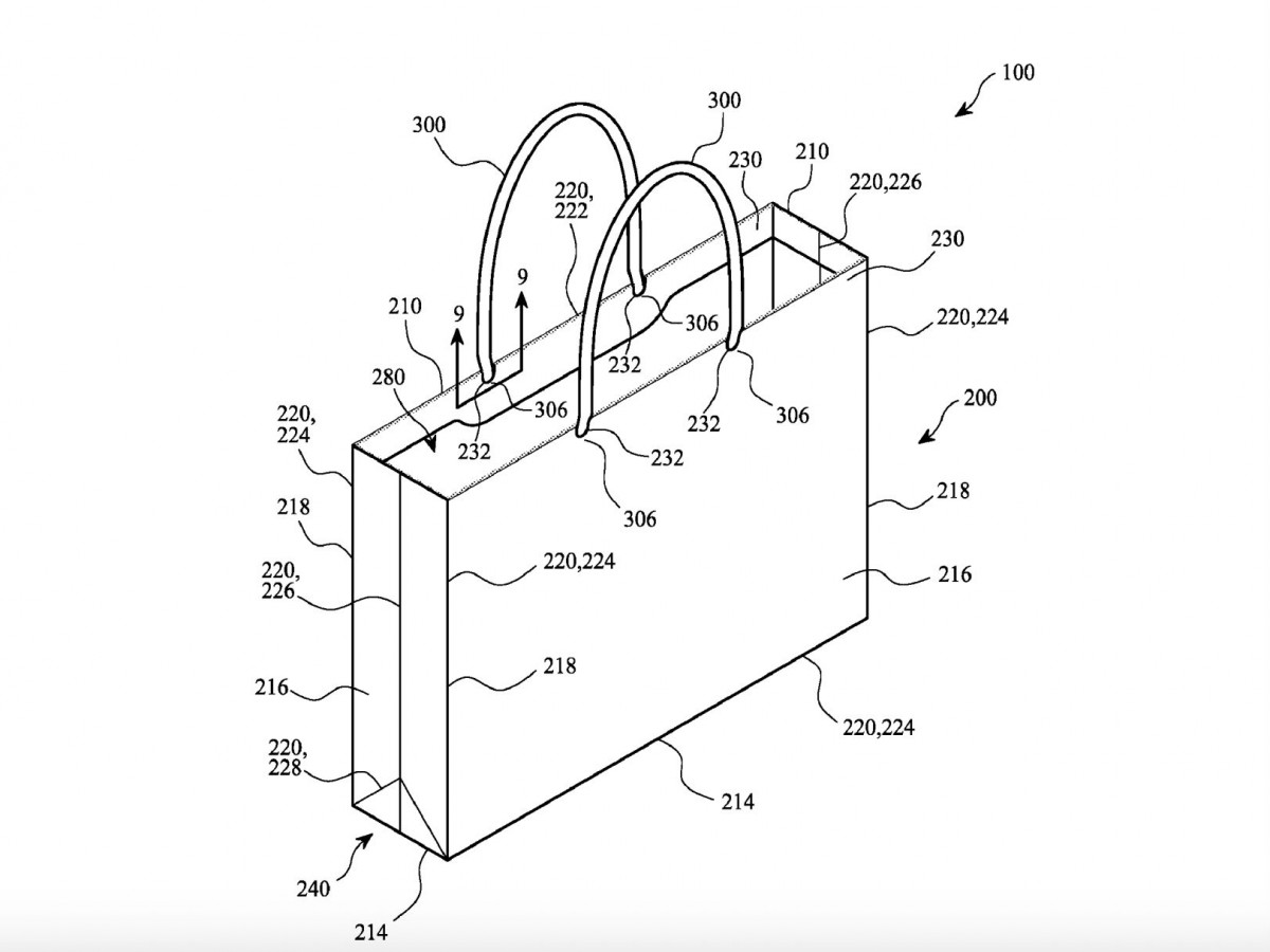
A Apple está ligada Escritório de Patentes dos EUA solicitou uma patente para um saco de papel convencional com alças que é feito de 60% de papel reciclado. Ele está inventando a água quente? Não, sua especialidade é que pode ser usado por muito tempo e também para carregando objetos mais pesados (haverá alças de fibras de celulose para máximo conforto). Embora a maioria dos sacos de papel reciclado para branqueamento usa produtos químicos que enfraquecem a estrutura da bolsa, a Apple tem uma solução no bolso para resolver esse problema. Haverá bolsas branco, ecológico e durável como nenhum antes. A Apple provavelmente já usa esse tipo de sacola em suas lojas há muito tempo e registrou a patente apenas para ter direito exclusivo de fabricação.






