De la columna 'no es cierto, pero lo es'. Apple, conocida por productos de alta tecnología como iPhone, MacBook, iPad, etc., está tratando de patentar una bolsa de papel. En marzo de este año, una empresa estadounidense que presenta patentes con regularidad, como las frutas y verduras de nuestras abuelas, presentó una patente para una bolsa de compras normal con asas. ¿Cuál es el truco? ¿La bolsa tendrá tecnología inalámbrica incorporada? ¿Analizará el contenido? Nada de eso.
Manzana tratando de patentar una bolsa de papel! No es una broma, aunque lo es. Conan O'Brien complació a fondo la marca que lo revolucionó tecnología usable (vea abajo). El último en esta etapa es obviamente la bolsa de papel.
LEE MAS: Prueba de flexión: ¿El iPhone 7 se dobla como el iPhone 6 Plus?
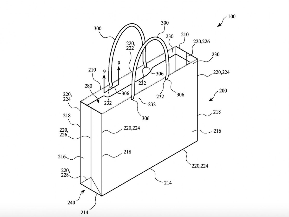
manzana está en Oficina de Patentes de EE. UU. solicitó una patente para una bolsa de papel convencional con asas que es hecho de 60 por ciento de papel reciclado. ¿Está inventando el agua caliente? No, su especialidad es que se puede utilizar durante mucho tiempo y también para llevar objetos más pesados (habrá manijas de fibras de celulosa para el máximo confort). Si bien la mayoría de las bolsas de papel reciclado para blanqueamiento utiliza productos químicos que debilitan la estructura de la bolsa, Apple tiene una solución en el bolsillo para solucionar este problema. habrá bolsas blanco, respetuoso con el medio ambiente y duradero. como ninguno antes. Apple probablemente ha estado usando este tipo de bolsas en sus tiendas durante mucho tiempo y presentó la patente solo para tener derecho exclusivo de fabricación.






