Dalla rubrica 'non è vero, ma lo è'. Apple, nota per i prodotti high-tech come iPhone, MacBook, iPad, ecc., sta cercando di brevettare un sacchetto di carta. Nel marzo di quest'anno, un'azienda americana che deposita regolarmente brevetti, come la frutta e la verdura delle nostre nonne, ha depositato un brevetto per una normale borsa della spesa con manici. Qual è il trucco? La borsa avrà la tecnologia wireless integrata? Analizzerà il contenuto? Nulla di tutto ciò.
Mela poskuša patentirati papirnato vrečko! To ni šala, čeprav si je Conan O’Brien dodobra privoščil znamko, ki je revolucionirala nosljivo tehnologijo (glej spodaj). Zadnja v tej fazi je očitno papirnata vrečka.
PER SAPERNE DI PIÙ: Test di piegatura: l'iPhone 7 si piega come l'iPhone 6 Plus?
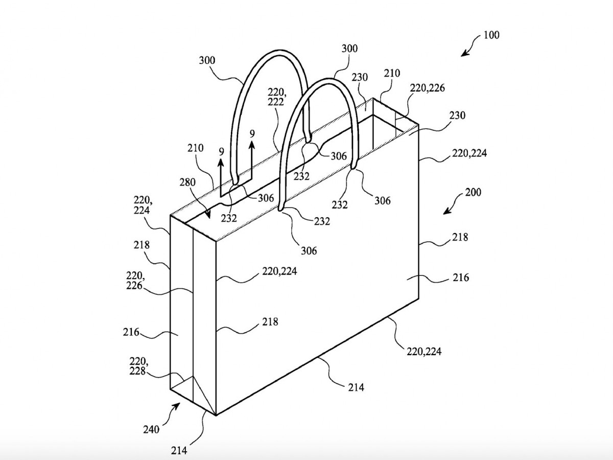
Apple è accesa ameriški patentni urad vložil zahtevo za patentiranje običajne papirnate vrečke z ročaji, ki je iz 60 odstotkov recikliranega papirja. Izumlja toplo vodo? Ne, njena posebnost je, da jo je mogoče uporabljati dlje časa in tudi za prenašanje težjih predmetov (ročaji bodo iz celuloznih vlaken za maksimalno udobje). Medtem ko večina vrečk iz recikliranega papirja za beljenje uporablja kemikalije, ki oslabijo strukturo vrečke, ima Apple v žepu rešitev, ki to težavo odpravi. Vrečke bodo bele, okolju prijazne in trpežne kot še nobena doslej. Bojda naj bi Apple v svojih trgovinah tovrstne vrečke uporabljal že dlje časa, patent pa je vložil zgolj zato, da bo imel ekskluzivno pravico izdelave.






