コラム「本当じゃないけど、あるんです」より。 iPhone、MacBook、iPadなどのハイテク製品で知られるAppleが、紙袋の特許を取得しようとしている。今年3月、私たちの祖母の果物や野菜と同じように定期的に特許を申請しているアメリカの企業が、ハンドル付きの通常のショッピングバッグの特許を申請しました。コツは何ですか?バッグにはワイヤレス技術が内蔵されますか?彼女は内容を分析するでしょうか?そのどれも。
りんご poskuša patentirati papirnato vrečko! To ni šala, čeprav si je Conan O’Brien dodobra privoščil znamko, ki je revolucionirala nosljivo tehnologijo (glej spodaj). Zadnja v tej fazi je očitno papirnata vrečka.
続きを読む: 曲げテスト: iPhone 7 は iPhone 6 Plus と同じように曲がりますか?
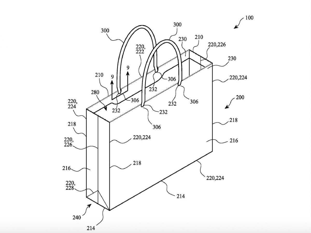
アップルは ameriški patentni urad vložil zahtevo za patentiranje običajne papirnate vrečke z ročaji, ki je iz 60 odstotkov recikliranega papirja. Izumlja toplo vodo? Ne, njena posebnost je, da jo je mogoče uporabljati dlje časa in tudi za prenašanje težjih predmetov (ročaji bodo iz celuloznih vlaken za maksimalno udobje). Medtem ko večina vrečk iz recikliranega papirja za beljenje uporablja kemikalije, ki oslabijo strukturo vrečke, ima Apple v žepu rešitev, ki to težavo odpravi. Vrečke bodo bele, okolju prijazne in trpežne kot še nobena doslej. Bojda naj bi Apple v svojih trgovinah tovrstne vrečke uporabljal že dlje časa, patent pa je vložil zgolj zato, da bo imel ekskluzivno pravico izdelave.






