Iz rubrike 'saj ni res, pa je'. Apple, ki ga poznamo po visokotehnoloških izdelkih, kot so iPhone, MacBook, iPad ipd., poskuša patentirati papirnato vrečko. Marca letos je ameriško podjetje, ki patente vlaga redno, kot so naše babice sadje in zelenjavo, vložilo patent za običajno nakupovalno vrečko z ročaji. V čem je trik? Bo imela vrečka vgrajeno brezžično tehnologijo? Bo analizirala vsebino? Nič od tega.
사과 poskuša patentirati papirnato vrečko! To ni šala, čeprav si je Conan O’Brien dodobra privoščil znamko, ki je revolucionirala nosljivo tehnologijo (glej spodaj). Zadnja v tej fazi je očitno papirnata vrečka.
더 읽어보기: 굽힘 테스트: iPhone 7은 iPhone 6 Plus처럼 구부러지나요?
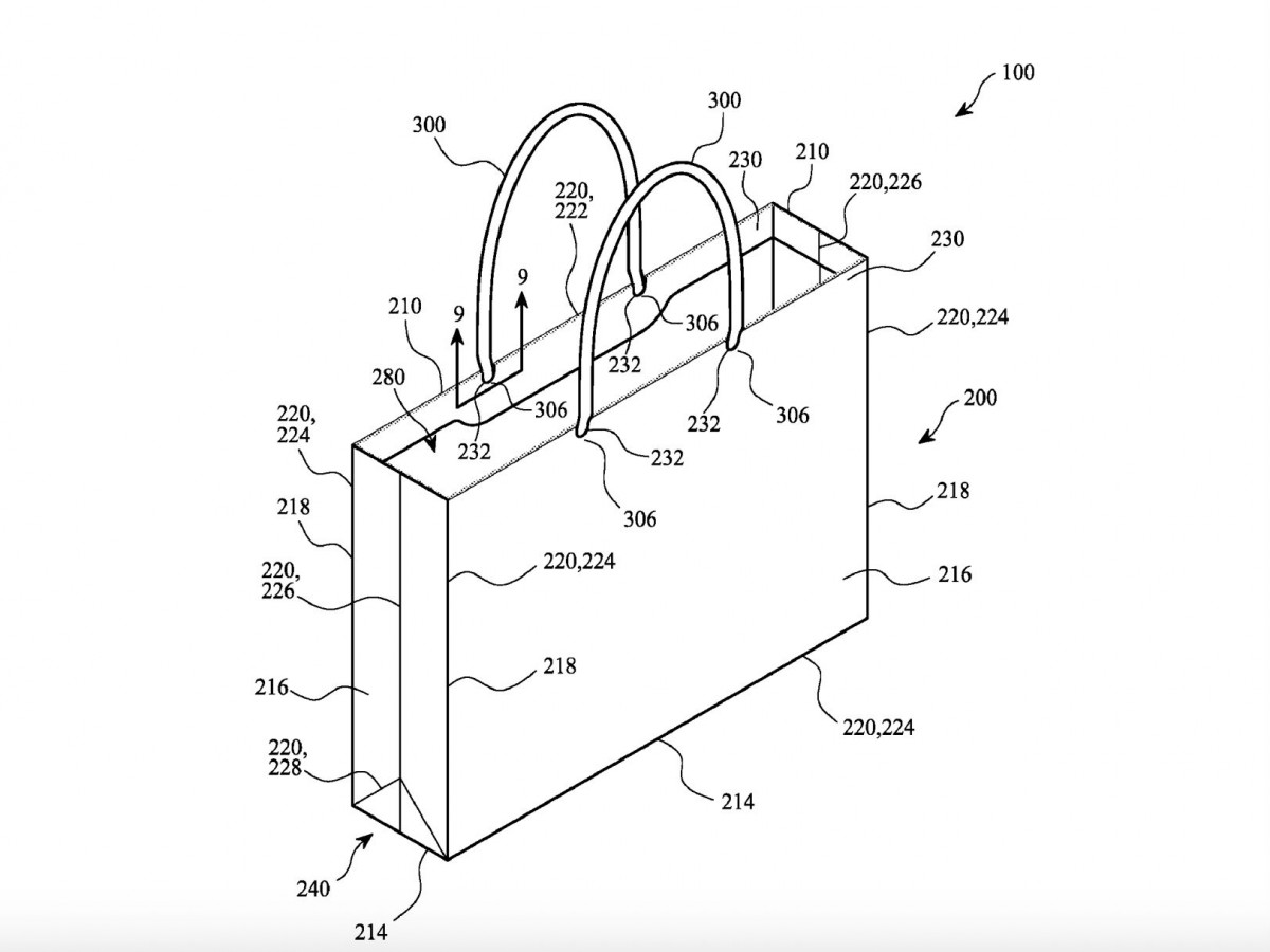
애플이 켜져있다 ameriški patentni urad vložil zahtevo za patentiranje običajne papirnate vrečke z ročaji, ki je iz 60 odstotkov recikliranega papirja. Izumlja toplo vodo? Ne, njena posebnost je, da jo je mogoče uporabljati dlje časa in tudi za prenašanje težjih predmetov (ročaji bodo iz celuloznih vlaken za maksimalno udobje). Medtem ko večina vrečk iz recikliranega papirja za beljenje uporablja kemikalije, ki oslabijo strukturo vrečke, ima Apple v žepu rešitev, ki to težavo odpravi. Vrečke bodo bele, okolju prijazne in trpežne kot še nobena doslej. Bojda naj bi Apple v svojih trgovinah tovrstne vrečke uporabljal že dlje časa, patent pa je vložil zgolj zato, da bo imel ekskluzivno pravico izdelave.






