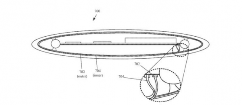
¿Reveló la solicitud de patente de Apple más sobre el próximo iPhone de lo que Apple está dispuesta a revelar? Hace unos meses, Ming-Chi Kuo, también conocido como el analista más preciso de Apple, predijo que Apple renovaría por completo el diseño en 2017, cuando el dispositivo tecnológico más influyente de la historia celebrará su décimo aniversario, y que el iPhone 8 contaría con una pantalla OLED curva y un cuerpo completamente de cristal. Sus predicciones aparentemente se están cumpliendo, ya que Apple ha presentado una patente que, según se lee entre líneas, es un cuerpo completamente de cristal.
Bo imel iPhone 8 completamente stekleno ohišje? Čeprav se prah po nedavni razvijalski konferenci WWDC 2016, na kateri je Apple predstavil kopico novosti, med drugim razvojno različico mobilnega operacijskega sistema iOS 10 in izboljšave za mobilni sporočilni sistem iMessage, še ni polegel, je odjeknila novica, da bo imel novi iPhone povsem stekleno ohišje. Vsaj tako se bere njegova vloga za patent.
LEE MAS: ¿Es este un iPhone 7?
Steklena ohišja so bila sicer prisotna že v letih 2010 in 2011 pri modelih iPhone 4 y 4s, pri iPhone 5 pa se je Apple vrnili k uporabi kovine. Po petih letih naj bi imelo steklo spet glavno besedo, predvsem da bi bolj izstopalo iz množice. No, še prej bomo morali ”pretrpeti” iPhone 7.
Fuente:
twitter.com/iUnplug






