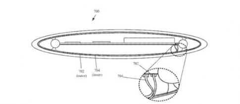
Je Applova vloga za patent povedala več o prihodnjem iPhonu, kot želi do zdaj izdati Apple? Pred nekaj meseci je Ming-Chi Kuo, znan tudi kot najnatančnejši Applov analitik, napovedal, da bo Apple leta 2017, ko bo imel najvplivnejši tehnološki pripomoček v zgodovini deseto obletnico, popolnoma prenovil dizajn ter da naj bi imel iPhone 8 ukrivljen OLED-zaslon in v celoti stekleno ohišje. Njegove napovedi se očitno uresničujejo, saj je Apple vložil patent, ki se med vrsticami bere kot vsestekleno ohišje.
Bo imel iPhone 8 povsem stekleno ohišje? Čeprav se prah po nedavni razvijalski konferenci WWDC 2016, na kateri je Apple predstavil kopico novosti, med drugim razvojno različico mobilnega operacijskega sistema iOS 10 in izboljšave za mobilni sporočilni sistem iMessage, še ni polegel, je odjeknila novica, da bo imel novi iPhone povsem stekleno ohišje. Vsaj tako se bere njegova vloga za patent.
PREBERITE ŠE: Je to iPhone 7?
Steklena ohišja so bila sicer prisotna že v letih 2010 in 2011 pri modelih iPhone 4 in 4s, pri iPhone 5 pa se je Apple vrnili k uporabi kovine. Po petih letih naj bi imelo steklo spet glavno besedo, predvsem da bi bolj izstopalo iz množice. No, še prej bomo morali ”pretrpeti” iPhone 7.
Vir:
twitter.com/iUnplug






