Ze sloupce „není to pravda, ale je to tak“. Apple, známý pro high-tech produkty jako iPhone, MacBook, iPad atd., se snaží patentovat papírový sáček. Letos v březnu si americká firma, která patentuje pravidelně, jako naše babičky ovoce a zeleninu, podala patent na běžnou nákupní tašku s uchy. Jaký je trik? Bude mít taška vestavěnou bezdrátovou technologii? Bude analyzovat obsah? Nic z toho.
Jablko poskuša patentirati papirnato vrečko! To ni šala, čeprav si je Conan O’Brien dodobra privoščil znamko, ki je revolucionirala nositelná technologie (glej spodaj). Zadnja v tej fazi je očitno papirnata vrečka.
PŘEČTĚTE SI VÍCE: Test ohybu: Ohýbá se iPhone 7 jako iPhone 6 Plus?
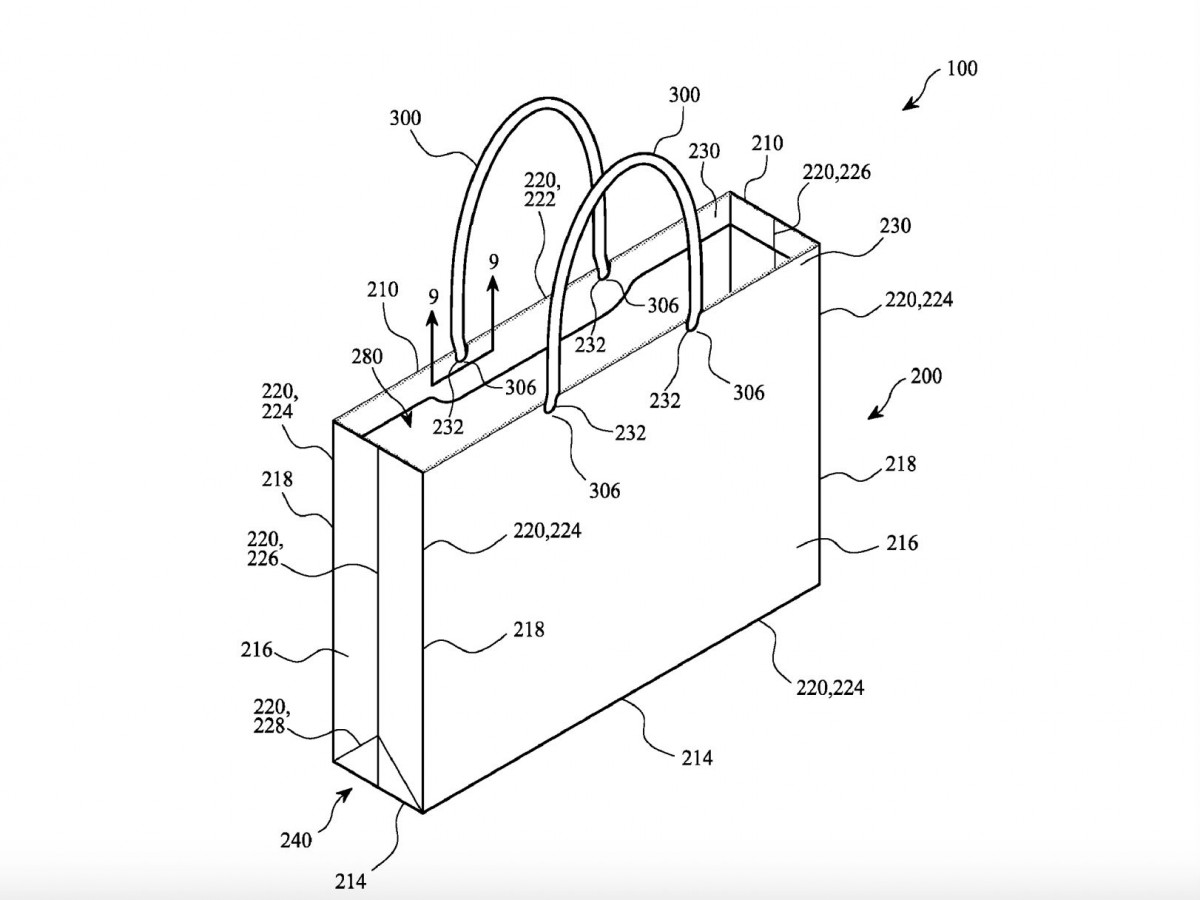
Apple je zapnutý ameriški patentni urad vložil zahtevo za patentiranje običajne papirnate vrečke z ročaji, ki je iz 60 odstotkov recikliranega papirja. Izumlja toplo vodo? Ne, njena posebnost je, da jo je mogoče uporabljati dlje časa in tudi za prenašanje težjih predmetov (ročaji bodo iz celuloznih vlaken za maksimalno udobje). Medtem ko večina vrečk iz recikliranega papirja za beljenje uporablja kemikalije, ki oslabijo strukturo vrečke, ima Apple v žepu rešitev, ki to težavo odpravi. Vrečke bodo bele, okolju prijazne in trpežne kot še nobena doslej. Bojda naj bi Apple v svojih trgovinah tovrstne vrečke uporabljal že dlje časa, patent pa je vložil zgolj zato, da bo imel ekskluzivno pravico izdelave.






