Sarakkeesta "se ei ole totta, mutta se on". Apple, joka tunnetaan korkean teknologian tuotteista, kuten iPhonesta, MacBookista, iPadista jne., yrittää patentoida paperikassin. Tämän vuoden maaliskuussa amerikkalainen yritys, joka hakee patentteja säännöllisesti, kuten isoäidemme hedelmiä ja vihanneksia, haki patentin tavalliselle kahvalliselle ostoskassille. Mikä on temppu? Onko laukussa sisäänrakennettu langaton tekniikka? Analysoiko hän sisältöä? Ei mikään niistä.
Omena yrittää patentoida paperipussi! Se ei ole vitsi, vaikka se onkin Conan O'Brien hemmoteltu perusteellisesti sen mullistaneen brändin kanssa puettava tekniikka (Katso alempaa). Viimeinen tässä vaiheessa on tietysti paperipussi.
LUE LISÄÄ: Taivutustesti: Taipuuko iPhone 7 kuten iPhone 6 Plus?
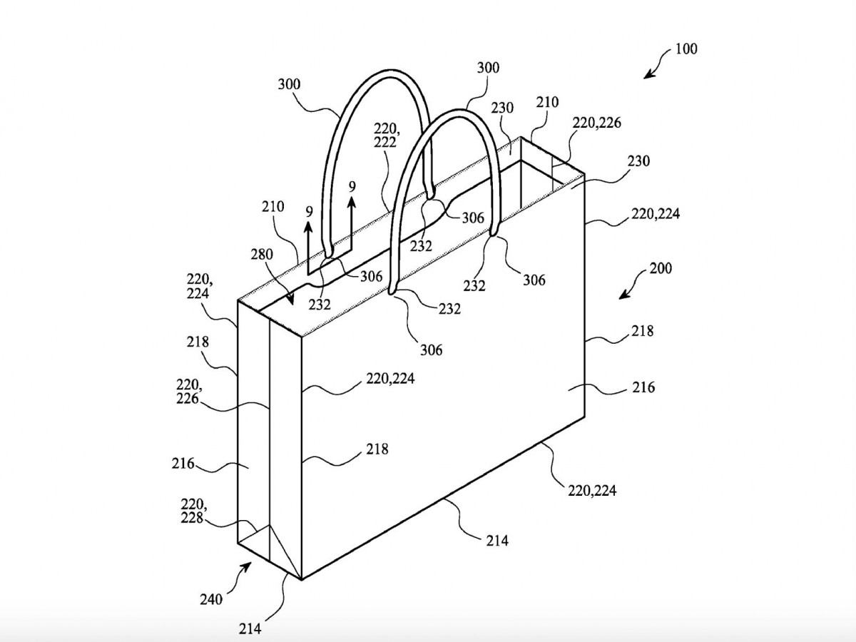
Apple on päällä Yhdysvaltain patenttivirasto haki patenttia tavanomaiselle paperikassille, jossa on kahvoja valmistettu 60-prosenttisesti kierrätyspaperista. Keksiikö hän kuumaa vettä? Ei, sen erikoisuus on, että sitä voidaan käyttää pitkään ja myös raskaampien esineiden kuljettamiseen (saa olla kahvat selluloosakuiduista maksimaalisen mukavuuden saavuttamiseksi). Vaikka useimmat kierrätetyt paperipussit valkaisu käyttää pussin rakennetta heikentäviä kemikaaleja, Applella on taskussaan ratkaisu tämän ongelman korjaamiseen. Laukkuja tulee olemaan valkoinen, ympäristöystävällinen ja kestävä kuten ei kukaan ennen. Apple on luultavasti käyttänyt tämän tyyppisiä laukkuja myymälöissään pitkään, ja haki patentin vain saadakseen yksinomainen valmistusoikeus.






