Dans la colonne « ce n'est pas vrai, mais c'est le cas ». Apple, connu pour ses produits de haute technologie tels que l'iPhone, le MacBook, l'iPad, etc., tente de breveter un sac en papier. En mars de cette année, une entreprise américaine qui dépose régulièrement des brevets, comme les fruits et légumes de nos grands-mères, a déposé un brevet pour un sac de courses ordinaire avec poignées. Quelle est l'astuce ? Le sac aura-t-il une technologie sans fil intégrée ? Va-t-elle analyser le contenu ? Rien de tout cela.
Pomme tentative de brevetage sac en papierCe n'est pas une blague, même si vous l'êtes Conan O'Brien Il s'est offert un beau cadeau avec une marque qui a révolutionné le secteur. technologie portable (voir ci-dessous). Le dernier élément de cette phase est évidemment le sac en papier.
EN SAVOIR PLUS: Test de pliage : l'iPhone 7 se plie-t-il comme l'iPhone 6 Plus ?
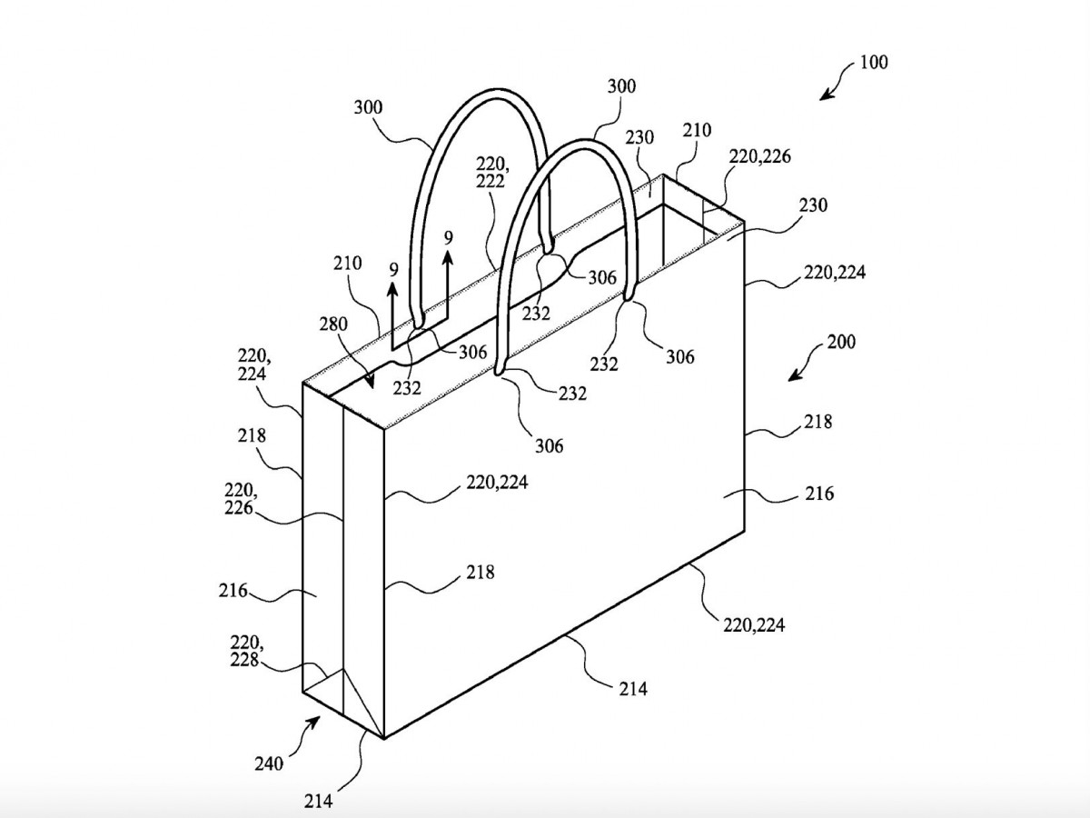
Apple est sur Office des brevets des États-Unis a déposé une demande de brevet pour un sac en papier classique avec poignées, qui fabriqué à partir de 60 % de papier recycléA-t-il inventé l'eau chaude ? Non, sa particularité est qu'elle peut être utilisée longtemps et aussi pour transporter des objets plus lourds (les poignées seront fabriqué à partir de fibres de cellulose (pour un maximum de commodité). Alors que la plupart des sacs en papier recyclé pour blanchiment Apple utilise des produits chimiques qui fragilisent la structure du sac et a trouvé une solution à ce problème. Les sacs seront blanc, écologique et durable Comme jamais auparavant. Apple utiliserait ces sacs dans ses magasins depuis longtemps et aurait déposé un brevet uniquement pour cela. droit exclusif de fabrication.






