Uit de kolom 'het is niet waar, maar het is wel zo'. Apple, bekend van hightechproducten als iPhone, MacBook, iPad etc., probeert een papieren zak te patenteren. In maart van dit jaar heeft een Amerikaans bedrijf dat regelmatig patenten aanvraagt, zoals de groenten en fruit van onze grootmoeder, een patent aangevraagd voor een gewone boodschappentas met handvatten. Wat is de truc? Zal de tas ingebouwde draadloze technologie hebben? Zal ze de inhoud analyseren? Niks van dat.
Appel proberen te patenteren een papieren zak! Het is geen grap, ook al is het dat wel Conan O'Brien heeft het merk dat een revolutie teweegbracht, grondig verwend draagbare technologie (zie hieronder). De laatste in deze fase is uiteraard de papieren zak.
LEES VERDER: Buigtest: buigt de iPhone 7 net als de iPhone 6 Plus?
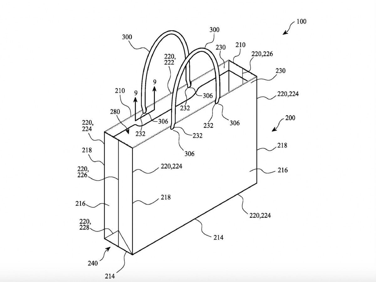
Appel staat aan Amerikaans octrooibureau patent aangevraagd voor een conventionele papieren zak met handvatten gemaakt van 60 procent gerecycled papier. Is hij bezig met het uitvinden van heet water? Nee, zijn specialiteit is dat het langdurig en ook nog eens lang gebruikt kan worden het dragen van zwaardere voorwerpen (er zullen handvatten zijn uit cellulosevezels voor maximaal comfort). Terwijl de meeste gerecyclede papieren zakken voor bleken gebruikt chemicaliën die de structuur van de tas verzwakken, Apple heeft een oplossing in petto om dit probleem op te lossen. Er zullen tassen zijn wit, milieuvriendelijk en duurzaam als geen ander. Apple gebruikt dit soort tassen waarschijnlijk al heel lang in zijn winkels en heeft er alleen patent op aangevraagd exclusief productierecht.






