Aus der Kolumne „Es ist nicht wahr, aber es ist wahr“. Apple, bekannt für Hightech-Produkte wie iPhone, MacBook, iPad usw., versucht, eine Papiertüte patentieren zu lassen. Im März dieses Jahres meldete ein amerikanisches Unternehmen, das wie das Obst und Gemüse unserer Großmütter regelmäßig Patente anmeldet, ein Patent für eine normale Einkaufstasche mit Griffen an. Was ist der Trick? Wird die Tasche über integrierte Wireless-Technologie verfügen? Wird sie den Inhalt analysieren? Keines davon.
Apfel versuche ein Patent zu beantragen eine Papiertasche! Es ist kein Witz, auch wenn es einer ist Conan O'Brien verwöhnte die Marke, die sie revolutioniert hat, gründlich Tragbare Technologie (siehe unten). Der letzte Schritt in dieser Phase ist natürlich die Papiertüte.
WEITERLESEN: Biegetest: Verbiegt sich das iPhone 7 wie das iPhone 6 Plus?
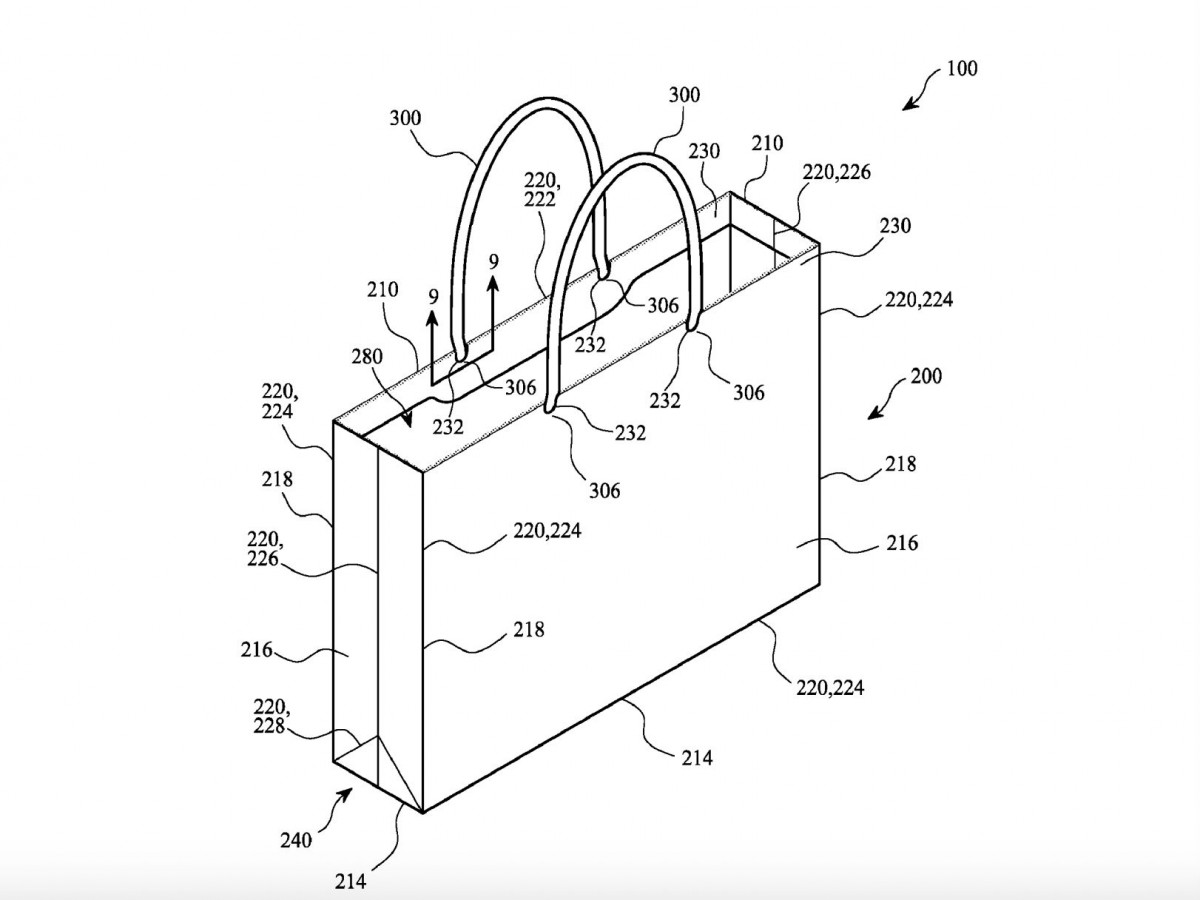
Apple ist eingeschaltet US-Patentamt eine herkömmliche Papiertüte mit Henkeln zum Patent angemeldet Hergestellt aus 60 Prozent Recyclingpapier. Erfindet er heißes Wasser? Nein, seine Besonderheit liegt darin, dass es über einen langen Zeitraum und auch über einen längeren Zeitraum verwendet werden kann schwerere Gegenstände tragen (Es wird Griffe geben aus Zellulosefasern für maximalen Komfort). Während die meisten recycelten Papiertüten für Bleichen Da das Unternehmen Chemikalien verwendet, die die Struktur der Tasche schwächen, hat Apple eine Lösung in der Tasche, um dieses Problem zu beheben. Es wird Taschen geben weiß, umweltfreundlich und langlebig wie keiner zuvor. Apple verwendet diese Art von Taschen wahrscheinlich schon seit langem in seinen Filialen und hat erst deshalb das Patent angemeldet ausschließliches Herstellungsrecht.






