Zo stĺpca „nie je to pravda, ale je to tak“. Apple, známy pre high-tech produkty ako iPhone, MacBook, iPad atď., sa snaží patentovať papierovú tašku. V marci tohto roku si americká spoločnosť, ktorá si patentuje pravidelne, ako naše staré mamy ovocie a zeleninu, podala patent na bežnú nákupnú tašku s rúčkami. Aký je trik? Bude mať taška vstavanú bezdrôtovú technológiu? Bude analyzovať obsah? Nič z toho.
Apple poskuša patentirati papirnato vrečko! To ni šala, čeprav si je Conan O’Brien dodobra privoščil znamko, ki je revolucionirala nositeľná technológia (glej spodaj). Zadnja v tej fazi je očitno papirnata vrečka.
ČÍTAJ VIAC: Test ohybu: Ohýba sa iPhone 7 ako iPhone 6 Plus?
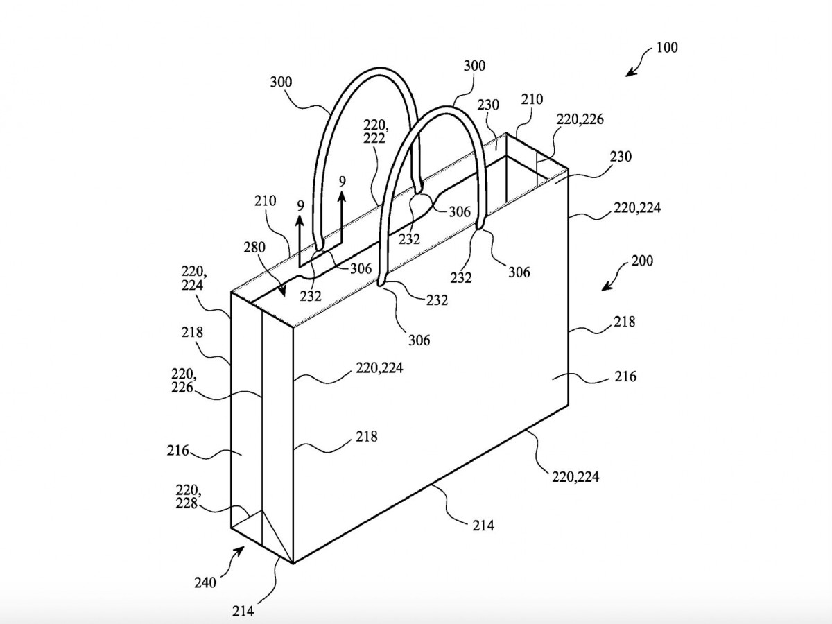
Apple je zapnutý ameriški patentni urad vložil zahtevo za patentiranje običajne papirnate vrečke z ročaji, ki je iz 60 odstotkov recikliranega papirja. Izumlja toplo vodo? Ne, njena posebnost je, da jo je mogoče uporabljati dlje časa in tudi za prenašanje težjih predmetov (ročaji bodo iz celuloznih vlaken za maksimalno udobje). Medtem ko večina vrečk iz recikliranega papirja za beljenje uporablja kemikalije, ki oslabijo strukturo vrečke, ima Apple v žepu rešitev, ki to težavo odpravi. Vrečke bodo bele, okolju prijazne in trpežne kot še nobena doslej. Bojda naj bi Apple v svojih trgovinah tovrstne vrečke uporabljal že dlje časa, patent pa je vložil zgolj zato, da bo imel ekskluzivno pravico izdelave.






