From the column 'it's not true, but it is'. Apple, known for high-tech products such as iPhone, MacBook, iPad, etc., is trying to patent a paper bag. In March this year, an American company that files patents regularly, like our grandmothers fruits and vegetables, filed a patent for a regular shopping bag with handles. What's the trick? Will the bag have built-in wireless technology? Will she analyze the content? None of that.
Apple trying to patent a paper bag! It's not a joke, even though it is Conan O'Brien thoroughly indulged the brand that revolutionized it wearable technology (see below). The last in this stage is obviously the paper bag.
READ MORE: Bend test: Does the iPhone 7 bend like the iPhone 6 Plus?
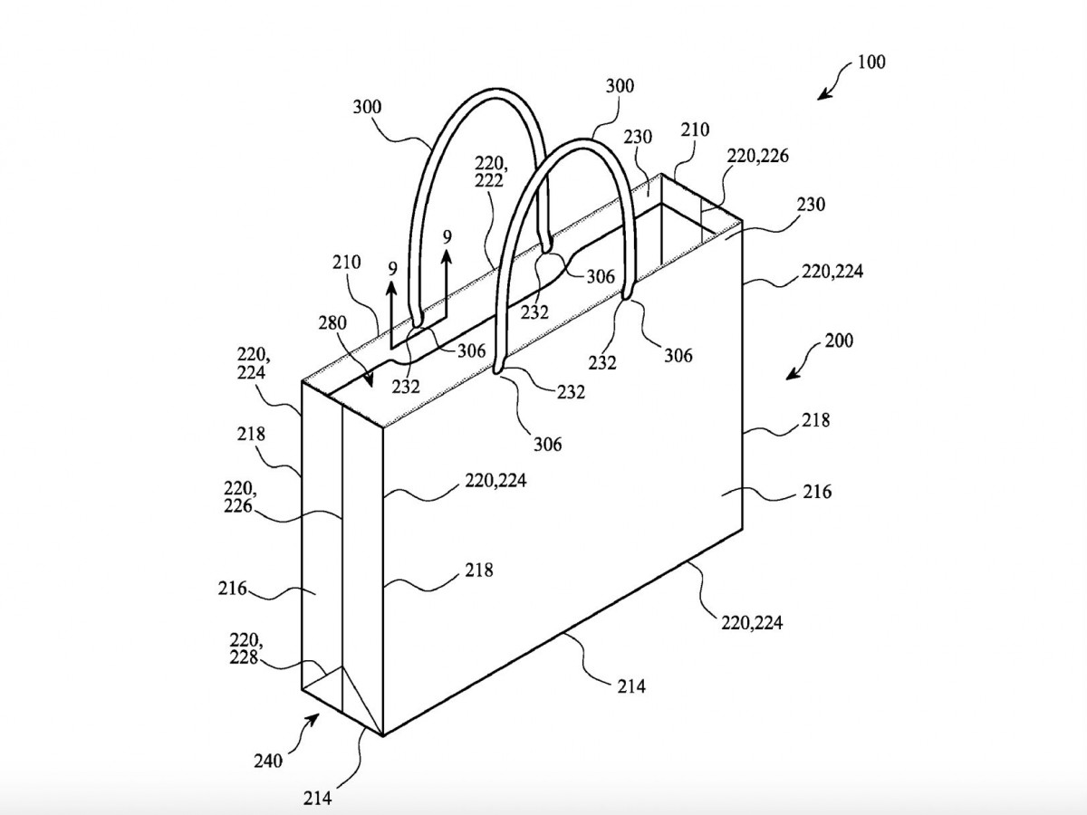
Apple is on US Patent Office applied for a patent for a conventional paper bag with handles that is made from 60 percent recycled paper. Is he inventing hot water? No, its specialty is that it can be used for a long time and also for carrying heavier objects (there will be handles from cellulose fibers for maximum comfort). While most recycled paper bags for bleaching uses chemicals that weaken the bag's structure, Apple has a solution in its pocket to fix this problem. There will be bags white, environmentally friendly and durable like none before. Apple has probably been using these types of bags in its stores for a long time, and filed the patent only to have exclusive manufacturing right.






